Veröffentlicht inNews

Xbox One/Xbox Two: Patente weisen auf künftigen Controller mit Force-Feedback-Triggern hin

Patente weisen auf künftigen Controller mit Force-Feedback-Triggern hin

© Microsoft / Microsoft

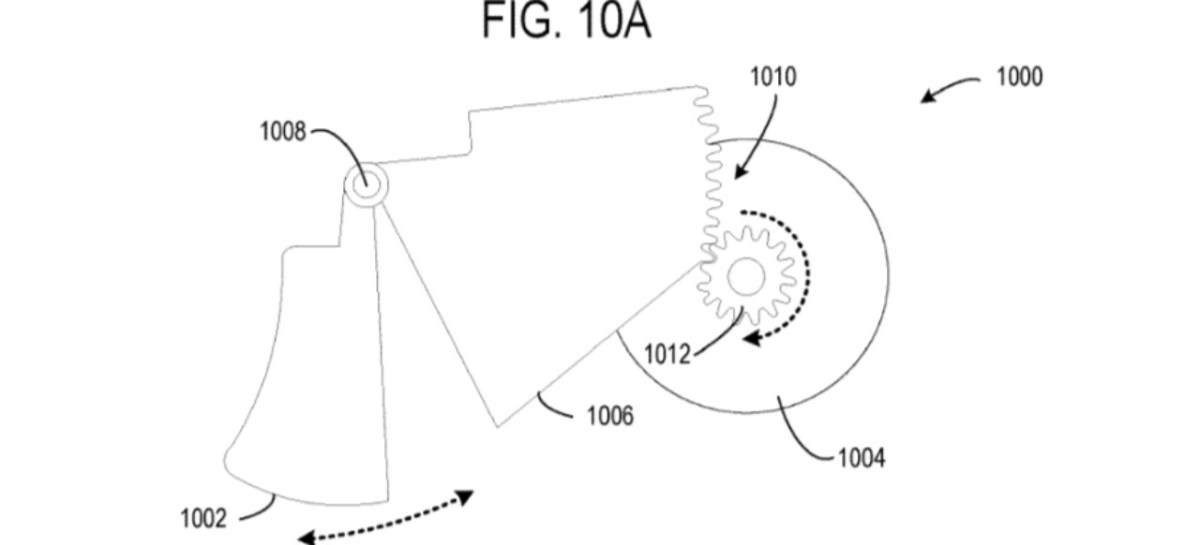
Während Nintendo die Konstruktion der Switch auf fein ortbare Vibrationen optimiert hat, könnte Microsoft sich bei seinem nächsten Xbox-Controllern vor allem auf die Trigger konzentrieren. Die Seite Windowslatest.com ist auf zwei Patente Microsofts gestoßen, die sich hier und hier auf Freepatentsonline.com einsehen lassen. Sie drehen sich um überarbeitete Controller, die u.a. Force-Feedback in den Triggern bieten sollen.



Der Widerstand beim Druck soll sich je nach Szenario verändern lassen. Zudem lässt sich der Hebelweg von der Software verkürzen, z.B. für verschiedene Waffentypen mit unterschiedlich langen Abzügen. Auch fein justierte Vibrationen im Trigger sollen die Immerson verbessern, z.B. durch einen kurzen Ruck bzw. ein kurzes „Klacken“ beim Auslösen des Abzugs. Ähnlich wie bei der Switch könnte es also mehrere Rumble-Zonen geben – eine davon im Trigger. Zudem scheint in bestimmte Spielsituationen auch ein Lagesensor (und weitere verfügbare Sensoren) eine Rolle bei der Steuerung des Force-Feedbacks für LT und RT zu spielen. Für welche Plattform die Controler erscheinen könnten, ist noch nicht klar – die Geräte der kommenden Xbox-Generation sind in dem Zusammenhang natürlich recht wahrscheinlich. Mehr Infos zu Gerüchten um die nächste Xbox (Codename Scarlett) gibt es hier.

X018_Ueberblick

X018_Ueberblick

X018_Ueberblick

  1. DARK-THREAT hat geschrieben: 05.01.2019 02:11
    Zuriko hat geschrieben: 05.01.2019 01:52 Hmm, Force Feedback in den Triggern wäre schon recht nice. Force Feedback in den Sticks noch geiler. Aber ich mache mir da etwas Sorgen um den Stromverbrauch.......
    Naja, liegt dann ganz allein an den eingesetzten Akkus. Meine 2 AA-Eneloops haben zusammen 3800mAh (jetzt wahrscheinlich eher nur noch 3000) und halten heute noch ca 10 Stunden inkl Headset, bevor sie gewechselt werden müssen.
    Es gibt aber noch stärkere Akkus auf dem Markt, dass man für 2 AA-Akkus auf über 5000mAh kommen kann. Ich denke das man da sicher locker auf über 5 Stunden kommen kann, bei allen eingeschalteten Features und Headset.
    Mache mir da keine Sorgen. Denn ich kenne aus eigener Erfahrung Controller mit fest eingebauten Akku, die heute auch nur ca 5-6 Stunden halten, ohne Rumble-Trigger und ohne Headset. ;)
    Force Feedback wäre eine echt interessante Neuerung, vor allem in den Triggern bei Rennspielen. Dadurch "erschöpft" man dort deutlich mehr und das kann in Simulationen durchaus realistischer werden, da das "perfekte" Fahren erschwert wird.
    Sicher, dass die Akkus parallel geschaltet sind? Ich denke eher in Reihe... der Controller wird 2,4 - 3,0v benötigen. Oder kannst Du ihn auch mit nur einer Batterie betreiben? Müsste ja bei einer Parallelschaltung gehen. Die Milliamperestunden deiner Akkus addieren sich also nicht. AA Eneloops mit 3800 mAh sind mir nicht bekannt. Ich habe die Eneloop pro mit knapp 2.500 mAh - die halten ewig im Controller. Hoffentlich bleibt man bei dem Schema und wechselt nicht auf festverbaute Akkus.

  2. Zuriko hat geschrieben: 05.01.2019 01:52 Hmm, Force Feedback in den Triggern wäre schon recht nice. Force Feedback in den Sticks noch geiler. Aber ich mache mir da etwas Sorgen um den Stromverbrauch.......
    Naja, liegt dann ganz allein an den eingesetzten Akkus. Meine 2 AA-Eneloops haben zusammen 3800mAh (jetzt wahrscheinlich eher nur noch 3000) und halten heute noch ca 10 Stunden inkl Headset, bevor sie gewechselt werden müssen.
    Es gibt aber noch stärkere Akkus auf dem Markt, dass man für 2 AA-Akkus auf über 5000mAh kommen kann. Ich denke das man da sicher locker auf über 5 Stunden kommen kann, bei allen eingeschalteten Features und Headset.
    Mache mir da keine Sorgen. Denn ich kenne aus eigener Erfahrung Controller mit fest eingebauten Akku, die heute auch nur ca 5-6 Stunden halten, ohne Rumble-Trigger und ohne Headset. ;)
    Force Feedback wäre eine echt interessante Neuerung, vor allem in den Triggern bei Rennspielen. Dadurch "erschöpft" man dort deutlich mehr und das kann in Simulationen durchaus realistischer werden, da das "perfekte" Fahren erschwert wird.

  3. Xyt4n hat geschrieben: 04.01.2019 20:33 Klingt Hammer! Sony, was wird eure Antwort darauf sein? (Ich erwarte nichts, um nicht enttäuscht zu werden)
    es stellt sich doch eher die frage. was ist microsofts antwort auf ps vr ?! force feedback trigger ?! :lol:

Hinterlassen Sie bitte einen Kommentar.

Seite 1