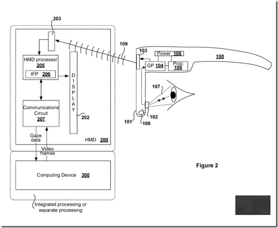
Das Magazin Siliconera.com ist auf ein <a href="http://pdfaiw.uspto.gov/.aiw?PageNum=0&docid=20190101980&IDKey=6C864547274A&HomeUrl=http://appft.uspto.gov/netacgi/nph-Parser?Sect1=PTO2&Sect2=HITOFF&u=%2Fnetahtml%2FPTO%2Fsearch-adv.html&r=51&p=2&f=G&l=50&d=PG01&S1=(Sony.AANM.+AND+%40PD%3E%3D20190301%3C%3D20190407)&OS=AANM/Sony+AND+PD/20190301-<20190407&RS=(AANM/Sony+AND+PD/20190301-US-Patent gestoßen, welches die VR-Nutzung für Brillenträger erleichtern könnte. Der Eintrag erläutert ein System, welches die Augenbewegungen direkt mit Sensoren im Brillen-Rahmen erfasst. Damit auch die die Position der Brille unterm VR-Headset richtig erfasst wird, ist eine Kamera in das VR-Headset eingebaut.
Beide Informationen zusammen könnten den Fokus des Spielers akkurater erfassen, so das Konzept. Für Headset-Nutzer ohne Brille ist zusätzlich auch klassisches Augen-Tracking im VR-Headset eingebaut. Schon beim Aufsetzen soll dann automatisch erkannt werden, ob es sich um einen Brillenträger handelt und welches System zum Einsatz kommt. Ob oder wie die Technik beim PSVR-Nachfolger in Aktion treten könnte, ist noch nicht bekannt.
Serious Lee hat geschrieben: ↑08.04.2019 18:07
Um ehrlich zu sein ist meine Sehschwäche mein größtes Hemmnis VR zu nutzen. Ich glaube das ist großer Stress für die Augen und selbst wenn die Integration von Sehhilfen besser gelöst wird, bleibt die Sorge vor dem Verchleiß der Sehkraft bei so nah an den Augen klebenden Screens.
Über Sehkraftverschleiß musst Du Dir (zumindest, was die Augenoptik, also die Linse samt Stellapparat, angeht - putative Schädigung durch Blaulicht mal außen vor) keine Gedanken machen. Wie beim Gebrauch einer Lupe können Deine Augen problemlos auf den Screen in kurzer Distanz akkommodieren. Das Auge akkommodiert hier wie bei Sicht in die Ferne.
Klingt als wüsstest du wovon du sprichst. Danke für die Erläuterung. Mal schauen. Ich hab' die PSVR ja hier, aber schleiche drumherum wie Eva um den verbotenen Apfel im Paradies Mir fehlt auch ne passende Brille im Moment. Kriegen die irgendwie nicht richtig eingestellt.
Halueth hat geschrieben: ↑09.04.2019 07:38
Ich wage zu bezweifeln, dass sich beide Varianten auch nur ansatzweise durchsetzen würden.
Kann ja dann immernoch jeder machen wie er will. Wenn dich die Brille untendrunter nicht stört, brauchst du dir ja auch keine korrigierenden Optiken für die VR-Brille kaufen.
Halueth hat geschrieben: ↑09.04.2019 07:38
Ob ich nun extra Brillengläser bei meinem Optiker für mein Sensorengestell von Sony machen lasse, oder spezielle Optikeinsätze direkt für das HMD kommt für mich aufs Selbe hinaus und wäre mir viel zu teuer und unpraktikabel.
Der für mich entscheidende Unterschied dabei ist, dass ich einen Alltagsgegenstand für eine Nischenanwendung dauerhaft modifiziere und bei der Anwendung dann immernoch den Nachteil (egal wie störend man den nun empfindet oder nicht) habe, unter der VR-Brille noch eine Brille tragen zu müssen. Also bevor ich meine Alltagsbrille für 600€ mit Sensoren ausstatten lasse(n muss), nur damit ich meine VR-Brille vollwertig benutzen kann, lass ich mir lieber für 1000€ korrigierende Optiken direkt für die VR-Brille anfertigen.
Serious Lee hat geschrieben: ↑08.04.2019 18:07
Um ehrlich zu sein ist meine Sehschwäche mein größtes Hemmnis VR zu nutzen. Ich glaube das ist großer Stress für die Augen und selbst wenn die Integration von Sehhilfen besser gelöst wird, bleibt die Sorge vor dem Verchleiß der Sehkraft bei so nah an den Augen klebenden Screens.
Über Sehkraftverschleiß musst Du Dir (zumindest, was die Augenoptik, also die Linse samt Stellapparat, angeht - putative Schädigung durch Blaulicht mal außen vor) keine Gedanken machen. Wie beim Gebrauch einer Lupe können Deine Augen problemlos auf den Screen in kurzer Distanz akkommodieren. Das Auge akkommodiert hier wie bei Sicht in die Ferne.
Liesel Weppen hat geschrieben: ↑08.04.2019 16:27
Also wenn ich mir ernsthaft VR zulegen wollen würde, würde ich erwarten, dass ich entsprechende Optikeinsätze für die VR-Brille kriegen kann. Die haben ja eh schon eine Optik drin, und die ist doch eh wechselbar, also warum da nicht passende für die jeweilige Fehlsichtigkeit machen (können lassen), dann brauche ich unter der VR-Brille keine normale Brille mehr, was meiner Erfahrung nach eh besser wäre, weil Brille unter "Brille" (egal ob VR-Headset, Ski-Brille, Motorradhelm, etc) ist eh kacke. Klar, die Optiken müsste man dann wohl auch bei einem Optiker auf die eigene Fehlsichtigkeit angepasst machen lassen und das würde auch was kosten, aber dann wäre es immerhin gleich "richtig" gelöst. Ich werde mir garantiert nicht meine tägliche genutzte Brille mit Sensoren ausstatten lassen, die dann nur benötigt werden, wenn ich das passende VR-Headset drüber habe (geschweige denn was die Sensoren, die ich als Brillenträger dann ja jeden Tag den ganzen Tag tragen würde, sonst noch alles so erfassen könnten).
Also ich kann nur für mich sprechen, aber zumindest bei meiner PSVR hab ich mit meiner Brille drunter keine Probleme, was den Tragecomfort angeht. Ich spiel natürlich dennoch lieber ohne Brille, da ich die ja nur für die Ferne benötige. Ich wage zu bezweifeln, dass sich beide Varianten auch nur ansatzweise durchsetzen würden. Ob ich nun extra Brillengläser bei meinem Optiker für mein Sensorengestell von Sony machen lasse, oder spezielle Optikeinsätze direkt für das HMD kommt für mich aufs Selbe hinaus und wäre mir viel zu teuer und unpraktikabel.
Um ehrlich zu sein ist meine Sehschwäche mein größtes Hemmnis VR zu nutzen. Ich glaube das ist großer Stress für die Augen und selbst wenn die Integration von Sehhilfen besser gelöst wird, bleibt die Sorge vor dem Verchleiß der Sehkraft bei so nah an den Augen klebenden Screens.
Der für mich entscheidende Unterschied dabei ist, dass ich einen Alltagsgegenstand für eine Nischenanwendung dauerhaft modifiziere und bei der Anwendung dann immernoch den Nachteil (egal wie störend man den nun empfindet oder nicht) habe, unter der VR-Brille noch eine Brille tragen zu müssen.
Also bevor ich meine Alltagsbrille für 600€ mit Sensoren ausstatten lasse(n muss), nur damit ich meine VR-Brille vollwertig benutzen kann, lass ich mir lieber für 1000€ korrigierende Optiken direkt für die VR-Brille anfertigen.
Ich wage zu bezweifeln, dass sich beide Varianten auch nur ansatzweise durchsetzen würden. Ob ich nun extra Brillengläser bei meinem Optiker für mein Sensorengestell von Sony machen lasse, oder spezielle Optikeinsätze direkt für das HMD kommt für mich aufs Selbe hinaus und wäre mir viel zu teuer und unpraktikabel.
Um ehrlich zu sein ist meine Sehschwäche mein größtes Hemmnis VR zu nutzen. Ich glaube das ist großer Stress für die Augen und selbst wenn die Integration von Sehhilfen besser gelöst wird, bleibt die Sorge vor dem Verchleiß der Sehkraft bei so nah an den Augen klebenden Screens.